枕式袋装机的结构及工作原理
发布时间:2020/5/15 16:34:58
修改时间:2022/8/23 16:20:01
发布者:温州裕东
联系电话:15858518818
关键词:温州裕东、江南游戏网址 、枕式袋装机、结构、工作原理、象鼻成型制袋式袋装机、翻领成型制袋式袋装机、筒形袋袋装机
描述:枕式袋装机的结构及工作原理,图3.2所示是立式、连续运动制袋式袋装机,可完成纵缝对接封合,装填封口及切断工作。图3.3所示是立式、间歇运动的翻领成型制袋式袋装机,可完成制袋、纵封(搭接或对接)、装填、封口及切断等工作。
枕式袋装机的结构及工作原理
1.象鼻成型制袋式袋装机
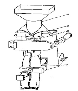
图3.2所示是立式、连续运动制袋式袋装机,可完成纵缝对接封合,装填封口及切断工作。全机除计量装置外,还由象鼻成型器、匀速回转的辊式纵封器、不等速回转的横封器和回转切刀等组成,单张卷筒薄膜经多道导辊和光电管被引入象鼻成型器,将薄膜卷折成圆筒状,被连续回转的纵封辊加热加压热封定型,包装料袋自上而下的连续移动,就是这纵封辊连续回转牵引薄膜的结果。横封器不等速回转,分别将上、下两袋的袋口和袋底封合,纵封器的转轴轴线与横封器回转轴线成空间垂直,因而获得枕式袋,被包装物料经计量装置计量后由导料槽落入袋内,封好口的连续袋由下面回转切刀与固定切刀接触时切断分开。2.翻领成型制袋式袋装机
图3.3所示是立式、间歇运动的翻领成型制袋式袋装机,可完成制袋、纵封(搭接或对接)、装填、封口及切断等工作。平张卷筒薄膜经多道导辊引上翻领成型器,由纵封器封合定形,搭接或对接成圆筒状,以计量装置计量后的物料由加料斗通过加料管导入袋底,横封器在封底同时拉袋向下,并对前一满袋封口,又在两袋间切断使之分开,全机各执行机构的动作可由机、电、气、液配合自动完成。
3.筒形袋袋装机
图3.4所示,这是一种间歇式转盘形包装机,这类包装机采用筒状卷料薄膜作包装材料,每次先封底缝,然后再切下作为包装袋,并交间歇回转工序盘上的夹持手将包装袋从一个工位移向另一个工位,完成装料、整形、封口等工序。其中图3.4是带有筒状薄膜开袋器的袋装机,它能先开袋后夹持,再被封底缝,这类机型在国内外较稀少,但开袋形式十分独特。使用较广的是图3.5所示的机型,它往往是先封底缝、切断、再被夹持,然后开袋,装填物料、封口等,这种机型与立式或卧式直线型袋装机相比,在工位动作的设计安排上,灵活性可以较大,对一些难装或多种物品要装入的袋装产品,它的适应性特别强。


图3.2 象鼻成型器制袋式袋装机 图3.3 翻领成型器制袋式袋装机
1-卷筒薄膜,2-象鼻成型器,3-加料斗,4-纵封辊, 1-加料管,2-翻领成型器,3-纵封辊,
5-横封辊,6-固定切刀,7-回转切刀 4-横封辊


图3.4 筒形袋机械开袋式袋装机图3.5 筒型袋袋装机 图3.5 筒型袋袋装机
1-开袋器,2-切断刀,3-拉袋手,4-封底器, 1-封底器,2-切刀,3-开袋吸嘴,4-加料斗,
5-装袋,6-封口与卸袋 5-封口
本文由网络转载,仅供给袋式包装机爱好者研究学习,若涉及侵权,请联系客服删除。
|
上一条:
什么是袋装?包装袋的基本形式有哪些?
|


