浏览量: 1903
给袋式包装机的开袋与撑袋机构方案设计
发布时间:2020/10/12 9:43:41
修改时间:2022/8/23 16:21:44
发布者:温州裕东
联系电话:15858518818
关键词:
描述:
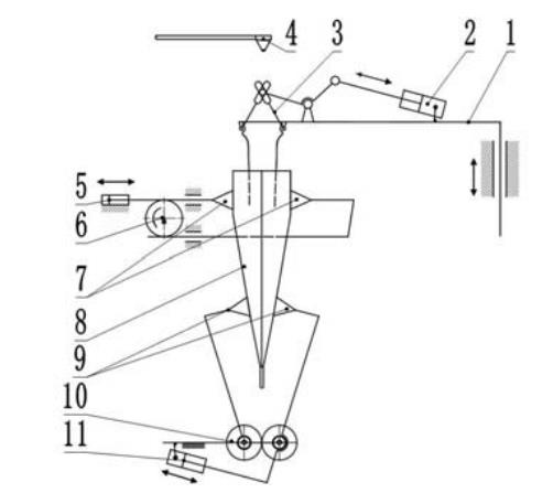
给袋式包装机中一般工业上采用的开袋机构多为吸盘吸附式开袋,这种开袋机构可以有很多种动力传动机构。对于 PET/AL/CPP 复合薄膜袋这样的预制袋,他们的两层薄膜在袋口处的贴合性很好,一般的机械式开袋机构并不容易实现开袋,因此采用了真空吸盘式开袋机构,能顺利、准确地打开袋口。图为开袋与撑袋机构示意图。

给袋式包装机的开袋与撑袋机构示意图
1、撑袋器臂
2、5、11、气缸
3、撑袋器夹
4、喷嘴
6、齿轮
7、9 吸盘
8、袋轮廓
10、联动齿轮
当预制袋到达第三工位时,两机夹间距离变小,以便于袋口的张开。PLC 控制气缸作业,带动吸盘动作(如果袋的尺寸较大,为保证可靠开袋,我们设计了上下两个方位的吸盘机构),吸附袋口并将袋打开,然后喷嘴吹气,使袋打开至完全膨胀状态,便于撑袋机械手沿着导轨下降并顺利地插入袋口。撑袋器夹以闭合状态随撑袋器臂下降到袋内一定深度,通过 PLC 控制气缸动作使得器夹打开进行撑袋动作,然后随转盘和撑袋器臂转至下一工位作业。
推荐:YD1014-1018给袋式包装机
查看详情://m.weight-lossx.com/Products/P-1093.html
本文由网络转载,仅供给袋式包装机爱好者研究学习,若涉及侵权,请联系客服删除。
|
上一条:
给袋式包装机的机夹与转盘方案设计
|
下一条:
给袋式包装机充填放料机构方案设计
|


