浏览量: 1132
给袋式包装机的充填放料机构设计
发布时间:2020/10/28 14:00:57
修改时间:2022/8/23 16:21:44
发布者:温州裕东
联系电话:15858518818
关键词:
描述:
如下图:
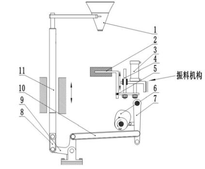
给袋式包装机充填放料机构方案所述,选用称重式电子计量装置配合充放料机构作业。充填放料机构示意图如图 3.11 所示,升降凸轮转动,驱动摆杆摆动,经中间连杆(8、9、10)动作,使得连杆(11)做升降运动,与之固结的料斗也做升降运动。放料作业由PLC 控制,前面所说的自检功能由绑缚在撑袋机械手上的自检装置实现。放料结束后,料斗上升,保证转盘部件的正常作业,避免与之干涉。该机构中有一个辅助机构,即振料机构,由 PLC 系统控制,气缸动作,带动振料棒沿导向棒滑动轨道方向升降,实现振料功能。振料机构适用于蓬松类物料,使其容易充填更多物料同时也更易于封口,使封口更平整、美观。对于味精、米等物料则不需要振动,由其自身重力就可以充实,因此,振料机构是一个选配机构。
给袋式包装机的放料与振料机构
1-料斗 2-振料棒 3-气缸 4-导向棒 5-紧固螺钉 6-凸轮 7-摆杆 8、9、10、11-连杆
本文由网络转载,仅供给袋式包装机爱好者研究学习,若涉及侵权,请联系客服删除。
|
上一条:
给袋式包装机开袋与撑袋机构的设计
|
下一条:
给袋式包装机热封与整形机构的设计
|


