浏览量: 1631
给袋式包装机摆动方式吸取片材的技术
发布时间:2021/4/23 13:42:34
修改时间:2022/8/23 16:13:53
发布者:温州裕东
联系电话:15858518818
关键词:
描述:

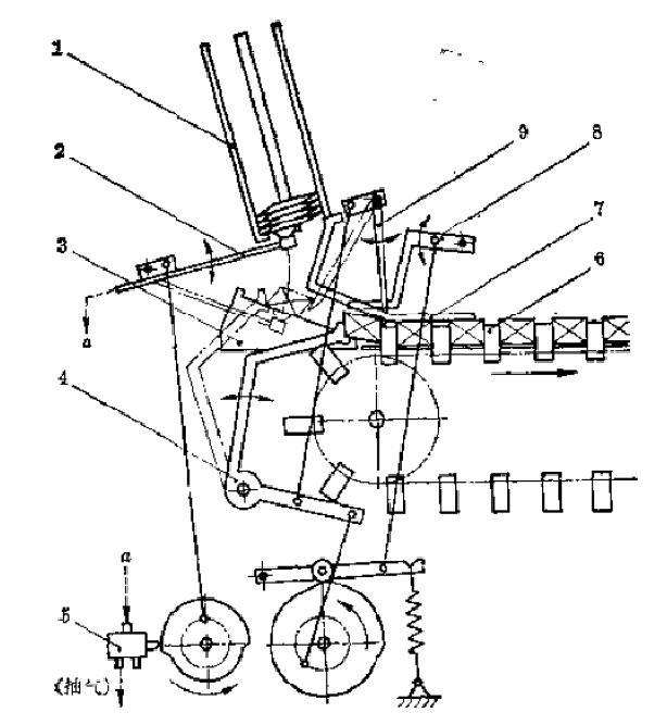
下部吸出式片材供送装置
1-片材库; 2-吸盘摆杆; 3-固定斜板; 4-推盒杆; 5-真空换向阀; 6-主传送开盒链板; 7-开盒导向板; 8-压盒摆杆; 9-接 盒摆杆
首先,当片材供送装置开始工作时由摆杆2带动真空吸盘将片材从片材库1中吸出,沿着固定斜板3下滑,由接盒摆杆9和推盒杆运动的配合将盒片打开,送到主传送开盒链板6中,完成开盒,并且最终有压盒摆杆整形完成取盒、供盒以及开盒的全部过程。其中,这种通过吸盘从片库中吸取片材的装置都有一个最基本的要求,就是保证片库中的片材在片库中的状态必须是正确的位置,没有歪斜或者反向的问题,以及上下之间不能发生粘连。这样才能保证片材被一张一张顺利取出,使被取出的盒片能够顺利完成开盒。另外,需要注意真空吸盘在吸取片材时,内部要形成一定的真空负压才能使片材被顺利拉出,这样就需要在真空吸盘接触片材表面时有一定的相互作用力,保证真空负压的形成,这样就必须保证片库中有足够的重量,这可以通过加配重的方式或者一直保证片库中有足够的片材,来提供这样的相互作用力。从图中可以看出,真空开关是由带动真空开关摆杆的凸轮带动,与摆杆的摆动直接相关,当真空吸盘要接触片材表面时开关出于打开状态,并且一直保持打开状态到片材被送到主传送链带上;然后真空开关会关闭,直到下一次真空吸盘与片材接触。此装置在生产时,由于速度过快时会出现吸盘吸盒以及开盒的不稳定,而且整个装置会对片材的尺寸、材料以及表面特性有特定的要求,一般都是针对特定的片材而进行的设计,专用性特别强,对于以上特性稍有不同的片材,装置就要在结构.上做很大调整。
对于通过摆动方式吸取片材的技术,其也是可以应用于预制袋上的。而且其所涉及到的装置对预制袋的尺寸规格、材料特性等也有类似的要求。但是,由于预制袋在刚度这个性能上要差与纸板、纸片,相对其柔性更大,这样就不利于真空吸盘快速动作,将袋子从袋库中取出。其主要特点还是因为装置的往复摆动的运动形式限制了速度的进一步提升。
本文由网络转载,仅供给袋式包装机爱好者研究学习,若涉及侵权,请联系客服删除。
|
上一条:
给袋式包装机下部供送式的技术分析
|
下一条:
给袋式包装机侧面吸出式短摆臂片材供送装置
|


