浏览量: 352
给袋式包装机侧面吸出式短摆臂片材供送装置
发布时间:2021/4/23 13:42:34
修改时间:2022/8/23 16:12:51
发布者:温州裕东
联系电话:15858518818
关键词:
描述:

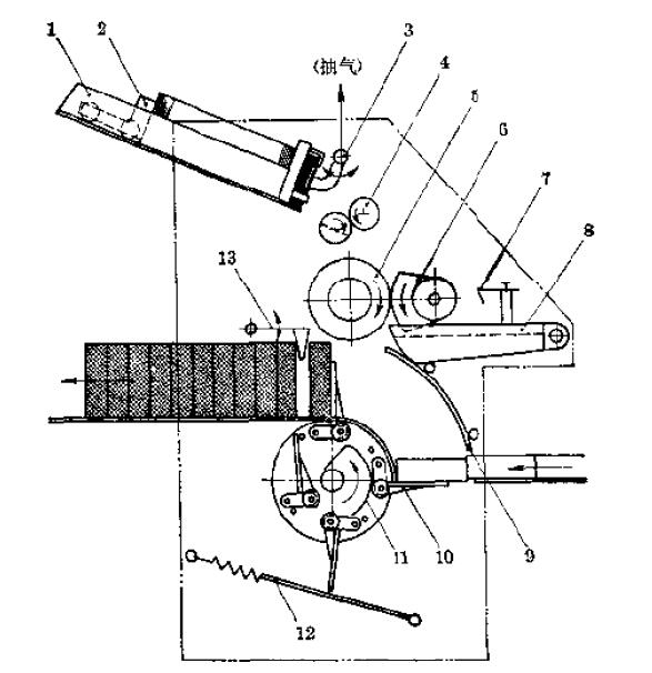
给袋式包装机侧面吸出式短摆臂片材供送装置图
1-片材库; 2-配重; 3- 摆动吸盘; 4输送轮; 5-真空吸鼓; 6- 涂胶轮; 7-刮胶板;8-胶水库; 9-折纸板; 10-接包片轮; 11-调整板; 12-缓冲板; 13-摆动折叠角
上图所示的是 给袋式包装机一种硬纸盒片的片材供送装置,与前面的长摆臂摆杆取片装置类似,只是其摆臂是由一个特殊的连杆机构组成,通过电机进行驱动。这种长摆臂类型的真空吸盘吸取型的取片装置一般都不会有较高的速度,主要还是由于连杆机构本身的性质所决定,这样的往复摆动在有较长摆臂的条件下会使摆臂具有很大的惯性而使整个装置不能正常工作。所以这种通过曲柄连杆机构和双摇杆机构组合的的传动方式,能够提供的最高的取片频率不会超过60片/分钟。
本文由网络转载,仅供给袋式包装机爱好者研究学习,若涉及侵权,请联系客服删除。
|
上一条:
给袋式包装机摆动方式吸取片材的技术
|
下一条:
给袋式包装机侧面吸出式长摆臂片材供送装置
|


